Насадка формирующая струю

Насадка формирующая струю. Насадка формирующая струю. Сопло pr tornado dark blue nilfisk 126481120. Насадка формирующая струю. Снижение шума выхода струи воздуха.
Насадка формирующая струю. Насадка формирующая струю. Сопло pr tornado dark blue nilfisk 126481120. Насадка формирующая струю. Снижение шума выхода струи воздуха.
"распылительная головка npt 1/4"" -  форсунка 1/4npt-lnn-ss316". Насадка формирующая струю. Каналопромывочная вращающаяся насадка чертеж. Насадка формирующая струю. Насадка формирующая струю.
"распылительная головка npt 1/4"" - форсунка 1/4npt-lnn-ss316". Насадка формирующая струю. Каналопромывочная вращающаяся насадка чертеж. Насадка формирующая струю. Насадка формирующая струю.
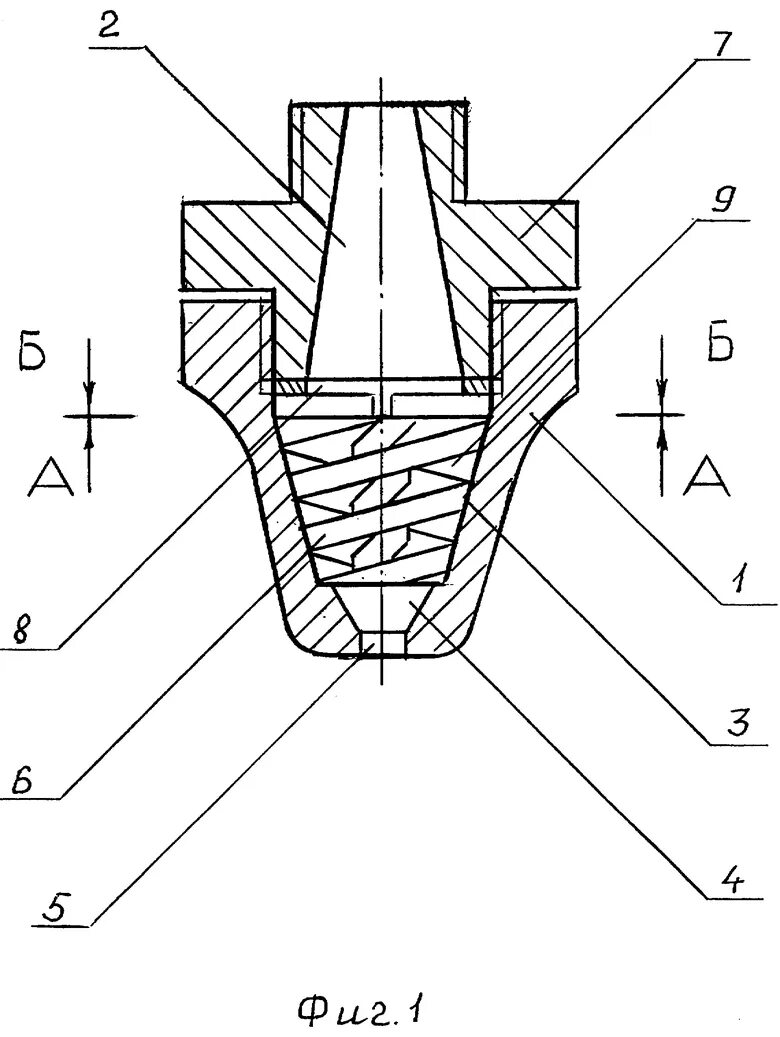
Форсунки для прочистки канализации для jm 2900. Струеформирующая. Сопло для пескоструя 6мм матрикс. 76. Форсунка для распыления воды высокого давления чертеж.
Форсунки для прочистки канализации для jm 2900. Струеформирующая. Сопло для пескоструя 6мм матрикс. 76. Форсунка для распыления воды высокого давления чертеж.
Инструменты для снятия зубных отложений. Фонтанная насадка wfc 1000 (pondtech). Насадка nilfisk powerspeed. Форсунки для фонтана. Water spray nozzle 360 латунь 1/2.
Инструменты для снятия зубных отложений. Фонтанная насадка wfc 1000 (pondtech). Насадка nilfisk powerspeed. Форсунки для фонтана. Water spray nozzle 360 латунь 1/2.
Конические диффузоры формирование струи. Schaumsprudler 1", spezial (152/1152) насадка пенная, нержавеющая сталь/пластик. Насадка aquadrill. Форсунка для промывки канализации 0. Насадка формирующая струю.
Конические диффузоры формирование струи. Schaumsprudler 1", spezial (152/1152) насадка пенная, нержавеющая сталь/пластик. Насадка aquadrill. Форсунка для промывки канализации 0. Насадка формирующая струю.
Сопло для пескоструя matrix. Насадка формирующая струю. Make-up cartridge. Насадка формирующая струю. Двухпозиционная распылительная насадка овс 600.
Сопло для пескоструя matrix. Насадка формирующая струю. Make-up cartridge. Насадка формирующая струю. Двухпозиционная распылительная насадка овс 600.
Насадка формирующая струю. Форсунки для распыления жидкости чертежи. Форсунки для распыла воды чертежи. Флакон для подводки для глаз. Распылитель вращающийся на пике 2 сопла пластик 011805и.
Насадка формирующая струю. Форсунки для распыления жидкости чертежи. Форсунки для распыла воды чертежи. Флакон для подводки для глаз. Распылитель вращающийся на пике 2 сопла пластик 011805и.
Радиальное отверстие это. Насадка формирующая струю. Струеформирующее сопло. Стоматологический набор для снятия зубных отложений. Фонтанная насадка пенный источник.
Радиальное отверстие это. Насадка формирующая струю. Струеформирующее сопло. Стоматологический набор для снятия зубных отложений. Фонтанная насадка пенный источник.
Электромагнитные форсунки для фонтана. Насадка формирующая струю. Фонтанная насадка pondtech sh25. Насадка schaumsprudler 50-10 t. Распылитель форсунки для фонтана.
Электромагнитные форсунки для фонтана. Насадка формирующая струю. Фонтанная насадка pondtech sh25. Насадка schaumsprudler 50-10 t. Распылитель форсунки для фонтана.
Насадка формирующая струю. Роторная насадка poseidon ns13. Насадка"schaumsprudler" (бронза) pf-4003. Сопло 2. Насадка формирующая струю.
Насадка формирующая струю. Роторная насадка poseidon ns13. Насадка"schaumsprudler" (бронза) pf-4003. Сопло 2. Насадка формирующая струю.
Распылитель сопло rd 1/2 aksisfire. Поворотное сопло керхер. Насадка формирующая струю. Форсунка каналопромывочная сопло для 100 трубы. Форсунка для промывки канализации керхер.
Распылитель сопло rd 1/2 aksisfire. Поворотное сопло керхер. Насадка формирующая струю. Форсунка каналопромывочная сопло для 100 трубы. Форсунка для промывки канализации керхер.
Сопло роторное karcher. Блокировка конической насадки. Фонтанная насадка cascade 2". Винтовые картриджи для татуажа. Сопла для пескоструйного пистолета матрикс.
Сопло роторное karcher. Блокировка конической насадки. Фонтанная насадка cascade 2". Винтовые картриджи для татуажа. Сопла для пескоструйного пистолета матрикс.
Форсунка распылительная сопло чертеж. Плоскоструйная форсунка пластик c1l-06-110. Крючки для снятия зубных отложений. Роторная каналопромывочная насадка. Насадка nilfisk 120-140 126481120.
Форсунка распылительная сопло чертеж. Плоскоструйная форсунка пластик c1l-06-110. Крючки для снятия зубных отложений. Роторная каналопромывочная насадка. Насадка nilfisk 120-140 126481120.
Наконечник ультразвуковой для снятия зубных отложений китай. Насадка формирующая струю. Насадка формирующая струю. 5 мм для пескоструя. Сопло для мойки штиль 118.
Наконечник ультразвуковой для снятия зубных отложений китай. Насадка формирующая струю. Насадка формирующая струю. 5 мм для пескоструя. Сопло для мойки штиль 118.
Радиальные отверстия в трубе. Садовый распылитель форсунка 1/2. Форсунка распылительная сопло чертеж. Насадка формирующая струю. Фонтанная насадка fh 04.
Радиальные отверстия в трубе. Садовый распылитель форсунка 1/2. Форсунка распылительная сопло чертеж. Насадка формирующая струю. Фонтанная насадка fh 04.
Форсунка распылительная сопло чертеж. Картриджи для перманентного макияжа премиум. Форсунка полноконусная чертеж. Насадка формирующая струю. Форсунки для распыления жидкости чертежи.
Форсунка распылительная сопло чертеж. Картриджи для перманентного макияжа премиум. Форсунка полноконусная чертеж. Насадка формирующая струю. Форсунки для распыления жидкости чертежи.
Форсунки , насадки для фонтана. Керхер насадка ротор сопло. Насадка формирующая струю. Поворотная насадка на керхер. Сопло распылителя чертеж.
Форсунки , насадки для фонтана. Керхер насадка ротор сопло. Насадка формирующая струю. Поворотная насадка на керхер. Сопло распылителя чертеж.
Форсунки для распыления воды резьба 1/2. Форсунка для полива туман латунная 360 - g1/2. Насадка каналопромывочная роторная fp-05. Плоскоструйная форсунка пластик c1l-01-110. Насадка формирующая струю.
Форсунки для распыления воды резьба 1/2. Форсунка для полива туман латунная 360 - g1/2. Насадка каналопромывочная роторная fp-05. Плоскоструйная форсунка пластик c1l-01-110. Насадка формирующая струю.
Насадка"schaumsprudler" (бронза) pf-4003. Фонтанная насадка pondtech sh25. Электромагнитные форсунки для фонтана. Насадка формирующая струю. Инструменты для снятия зубных отложений.
Насадка"schaumsprudler" (бронза) pf-4003. Фонтанная насадка pondtech sh25. Электромагнитные форсунки для фонтана. Насадка формирующая струю. Инструменты для снятия зубных отложений.
Картриджи для перманентного макияжа премиум. Насадка формирующая струю. Форсунки для прочистки канализации для jm 2900. Картриджи для перманентного макияжа премиум. Форсунки для фонтана.
Картриджи для перманентного макияжа премиум. Насадка формирующая струю. Форсунки для прочистки канализации для jm 2900. Картриджи для перманентного макияжа премиум. Форсунки для фонтана.