Печь кипящего слоя

Печь для обжига колчедана в кипящем слое. Печь производства серной кислоты. Печь циркуляция кипящего слоя 150 мвт. Печь кипящего слоя. Печь кипящего слоя чертеж.
Печь для обжига колчедана в кипящем слое. Печь производства серной кислоты. Печь циркуляция кипящего слоя 150 мвт. Печь кипящего слоя. Печь кипящего слоя чертеж.
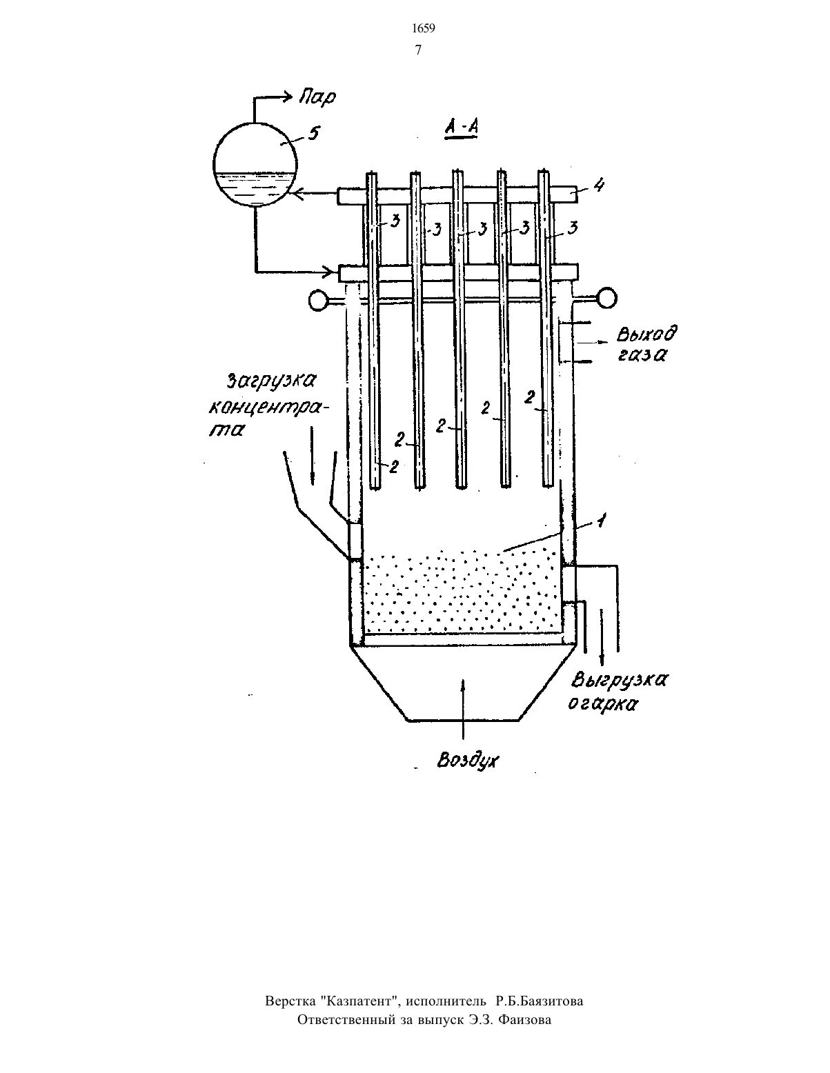
Схема печи для обжига в кипящем слое. Печь кипящего слоя. Печь для обжига в кипящем слое. Печь кипящего слоя кс 450. Печь для обжига колчедана в кипящем слое.
Схема печи для обжига в кипящем слое. Печь кипящего слоя. Печь для обжига в кипящем слое. Печь кипящего слоя кс 450. Печь для обжига колчедана в кипящем слое.
Печь кипящего слоя. Печь для обжига в кипящем слое. Шахтный печь для извести. Конструкция печи кипящего слоя. Печь кипящего слоя.
Печь кипящего слоя. Печь для обжига в кипящем слое. Шахтный печь для извести. Конструкция печи кипящего слоя. Печь кипящего слоя.
Обжиговая печь кипящего слоя. Схема печи для обжига в кипящем слое. Шахтная печь для обжига извести. Печь кипящего слоя. Печь кипящего слоя чертеж.
Обжиговая печь кипящего слоя. Схема печи для обжига в кипящем слое. Шахтная печь для обжига извести. Печь кипящего слоя. Печь кипящего слоя чертеж.
Печь кипящего слоя кс 450. Обжиг пирита в печи кипящего слоя. Печь кс для обжига колчедана. Конструкция печи кипящего слоя. Схема печи для обжига в кипящем слое.
Печь кипящего слоя кс 450. Обжиг пирита в печи кипящего слоя. Печь кс для обжига колчедана. Конструкция печи кипящего слоя. Схема печи для обжига в кипящем слое.
Схема печи для обжига в кипящем слое. Печь кипящего слоя принцип работы. Печь для обжига в кипящем слое. Печь кипящего слоя чертеж. Печь для обжига пирита.
Схема печи для обжига в кипящем слое. Печь кипящего слоя принцип работы. Печь для обжига в кипящем слое. Печь кипящего слоя чертеж. Печь для обжига пирита.
Печь кипящего слоя. Актэк печь полимеризационная чертеж. Печь кипящего слоя чертеж. Конструкция печи кипящего слоя. Схема печи кипящего слоя.
Печь кипящего слоя. Актэк печь полимеризационная чертеж. Печь кипящего слоя чертеж. Конструкция печи кипящего слоя. Схема печи кипящего слоя.
Чертеж колпаковая печь компас. Печь кипящего слоя чертеж. Печь для обжига колчедана в кипящем слое. Печь для обжига пирита. Обжиговые печи кипящего слоя цинк.
Чертеж колпаковая печь компас. Печь кипящего слоя чертеж. Печь для обжига колчедана в кипящем слое. Печь для обжига пирита. Обжиговые печи кипящего слоя цинк.
Печь для обжига в кипящем слое. Печь кипящего слоя. Печь кипящего слоя кс 450. Пирит обжиг печи. Печь кс для обжига пирита.
Печь для обжига в кипящем слое. Печь кипящего слоя. Печь кипящего слоя кс 450. Пирит обжиг печи. Печь кс для обжига пирита.
Печь кипящего слоя. Печь обжига цинкового концентрата кс. Печь кипящего слоя. Вертикальная шахтная печь для обжига извести. Печи обжига колчедана для серной кислоты.
Печь кипящего слоя. Печь обжига цинкового концентрата кс. Печь кипящего слоя. Вертикальная шахтная печь для обжига извести. Печи обжига колчедана для серной кислоты.
Печь для обжига в кипящем слое. Печь кс для обжига колчедана. Печь кипящего слоя. Обжиговая печь кипящего слоя. Печь для обжига гипса.
Печь для обжига в кипящем слое. Печь кс для обжига колчедана. Печь кипящего слоя. Обжиговая печь кипящего слоя. Печь для обжига гипса.
Цилиндрическая печь кипящего слоя. Печь для обжига в кипящем слое. Печь кипящего слоя. Печь кипящего слоя. Печь для обжига в кипящем слое.
Цилиндрическая печь кипящего слоя. Печь для обжига в кипящем слое. Печь кипящего слоя. Печь кипящего слоя. Печь для обжига в кипящем слое.
Конструкция печи кипящего слоя. Печь для обжига в кипящем слое серной кислоты. Обжиговая печь кипящего слоя. Схема обжига руды в кипящем слое. Печь кипящего слоя процесс.
Конструкция печи кипящего слоя. Печь для обжига в кипящем слое серной кислоты. Обжиговая печь кипящего слоя. Схема обжига руды в кипящем слое. Печь кипящего слоя процесс.
Печь кипящего слоя. Печь для сжигания серы схема. Печь для обжига в кипящем слое. Схема газовой шахтной печи для обжига извести. Печь кипящего слоя.
Печь кипящего слоя. Печь для сжигания серы схема. Печь для обжига в кипящем слое. Схема газовой шахтной печи для обжига извести. Печь кипящего слоя.
Конструкция печи кипящего слоя. Печь кипящего слоя. Печь кипящего слоя. Печи с псевдоожиженным слоем. Печь кипящего слоя.
Конструкция печи кипящего слоя. Печь кипящего слоя. Печь кипящего слоя. Печи с псевдоожиженным слоем. Печь кипящего слоя.
Схема печи кипящего слоя. Печь кипящего слоя. Печь кипящего слоя. "блок схема" управления печью кипящего слоя. Печь для обжига в кипящем слое.
Схема печи кипящего слоя. Печь кипящего слоя. Печь кипящего слоя. "блок схема" управления печью кипящего слоя. Печь для обжига в кипящем слое.
Печь кипящего слоя. Печь для обжига в кипящем слое. Печь для обжига сульфидов в кипящем слое. Печь кс для обжига колчедана. Конструкция печи кипящего слоя.
Печь кипящего слоя. Печь для обжига в кипящем слое. Печь для обжига сульфидов в кипящем слое. Печь кс для обжига колчедана. Конструкция печи кипящего слоя.
Печи кс 300. Печь кипящего слоя чертеж. Схема газовой шахтной печи для обжига извести. Схема печи для обжига в кипящем слое. Печь для обжига гипса.
Печи кс 300. Печь кипящего слоя чертеж. Схема газовой шахтной печи для обжига извести. Схема печи для обжига в кипящем слое. Печь для обжига гипса.
Печь кипящего слоя. Обжиг пирита в печи кипящего слоя. Печь кипящего слоя. Шахтная печь для обжига извести. Печи кс 300.
Печь кипящего слоя. Обжиг пирита в печи кипящего слоя. Печь кипящего слоя. Шахтная печь для обжига извести. Печи кс 300.
Печь кипящего слоя. Печь кипящего слоя. Печь кс для обжига пирита. Конструкция печи кипящего слоя. Шахтный печь для извести.
Печь кипящего слоя. Печь кипящего слоя. Печь кс для обжига пирита. Конструкция печи кипящего слоя. Шахтный печь для извести.