Со 153 молниезащита зданий и сооружений

Со 153 молниезащита зданий и сооружений. Со 153 молниезащита зданий и сооружений. Молниезащита зданий и сооружений. Со 153 молниезащита зданий и сооружений. Молниезащита со 153-34.
Со 153 молниезащита зданий и сооружений. Со 153 молниезащита зданий и сооружений. Молниезащита зданий и сооружений. Со 153 молниезащита зданий и сооружений. Молниезащита со 153-34.
Молниезащита частного дома. Инструкция по устройству молниезащиты зданий и сооружений. Молниеприемная сетка шаг нормы. Со 153 молниезащита зданий и сооружений. Схемы молниезащиты зданий и сооружений.
Молниезащита частного дома. Инструкция по устройству молниезащиты зданий и сооружений. Молниеприемная сетка шаг нормы. Со 153 молниезащита зданий и сооружений. Схемы молниезащиты зданий и сооружений.
Молниеприемник на скатной кровле. 122-2003. Молниезащита промышленных зданий. Со 153 молниезащита зданий и сооружений. 122-2003.
Молниеприемник на скатной кровле. 122-2003. Молниезащита промышленных зданий. Со 153 молниезащита зданий и сооружений. 122-2003.
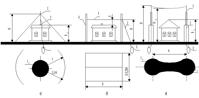
Молниезащита промышленных зданий. Со 153 молниезащита зданий и сооружений. Молниезащита на кровле. 21. Стержневая молниезащита зданий и сооружений.
Молниезащита промышленных зданий. Со 153 молниезащита зданий и сооружений. Молниезащита на кровле. 21. Стержневая молниезащита зданий и сооружений.
Со 153 молниезащита зданий и сооружений. 21. 21. 122-2003. Со 153 молниезащита зданий и сооружений.
Со 153 молниезащита зданий и сооружений. 21. 21. 122-2003. Со 153 молниезащита зданий и сооружений.
Книга устройство молниезащиты зданий и сооружений. Молниезащита из сетки на кровле. 21. 21. Со 153 молниезащита зданий и сооружений.
Книга устройство молниезащиты зданий и сооружений. Молниезащита из сетки на кровле. 21. 21. Со 153 молниезащита зданий и сооружений.
122-2003. 122-2003. Инструкция по устройству молниезащиты зданий и сооружений. Молниезащита вентшахт на кровле. Рд 34.
122-2003. 122-2003. Инструкция по устройству молниезащиты зданий и сооружений. Молниезащита вентшахт на кровле. Рд 34.
Со 153 молниезащита зданий и сооружений. Молниезащита на кровле дкс. Категории молниезащиты рд 34. 21. 122-2003.
Со 153 молниезащита зданий и сооружений. Молниезащита на кровле дкс. Категории молниезащиты рд 34. 21. 122-2003.
21. Комплексная система молниезащиты здания. Со 153 молниезащита зданий и сооружений. 21. 21.
21. Комплексная система молниезащиты здания. Со 153 молниезащита зданий и сооружений. 21. 21.
Молниезащита на профлисте. Принципиальная схема молниезащиты. Model studio cs молниезащита. 21. Со 153 молниезащита зданий и сооружений.
Молниезащита на профлисте. Принципиальная схема молниезащиты. Model studio cs молниезащита. 21. Со 153 молниезащита зданий и сооружений.
Со 153-34. Инструкция по устройству молниезащиты зданий и сооружений. 122-87. Контур заземления промышленного здания. Молниеотвод ezetek.
Со 153-34. Инструкция по устройству молниезащиты зданий и сооружений. 122-87. Контур заземления промышленного здания. Молниеотвод ezetek.
21. Комплексная система молния защиты здания. 122-2003 действующий. Книга устройство молниезащиты зданий и сооружений. 21.
21. Комплексная система молния защиты здания. 122-2003 действующий. Книга устройство молниезащиты зданий и сооружений. 21.
Со 153 молниезащита зданий и сооружений. 122-2003. 122-2003. Со 153 молниезащита зданий и сооружений. 122-2003.
Со 153 молниезащита зданий и сооружений. 122-2003. 122-2003. Со 153 молниезащита зданий и сооружений. 122-2003.
Молния защита зданий и сооружений. Краши. Со 153 молниезащита зданий и сооружений. Со 153-34. 21.
Молния защита зданий и сооружений. Краши. Со 153 молниезащита зданий и сооружений. Со 153-34. 21.
Молниезащита и заземление зданий. Инструкция устройства по молниезащите. 122. Молниезащита со 153-34. Со 153 молниезащита зданий и сооружений.
Молниезащита и заземление зданий. Инструкция устройства по молниезащите. 122. Молниезащита со 153-34. Со 153 молниезащита зданий и сооружений.
122-2003. Молниезащита со 153-34. Со 153-34. Молниезащита резервуаров со 153-34. Молниезащита по коньку кровли.
122-2003. Молниезащита со 153-34. Со 153-34. Молниезащита резервуаров со 153-34. Молниезащита по коньку кровли.
122-2003. Молниезащита зданий и сооружений. Со 153-34. Молниезащита со 153-34. Со 153 молниезащита зданий и сооружений.
122-2003. Молниезащита зданий и сооружений. Со 153-34. Молниезащита со 153-34. Со 153 молниезащита зданий и сооружений.
Молниезащита со 153-34. Цена за установку крыши дома в ингушетии. Молниезащита зданий и сооружений со 153-34. Со 153 молниезащита зданий и сооружений. Балластная кровля молниезащита.
Молниезащита со 153-34. Цена за установку крыши дома в ингушетии. Молниезащита зданий и сооружений со 153-34. Со 153 молниезащита зданий и сооружений. Балластная кровля молниезащита.
Инструкция по устройству молниезащиты зданий и сооружений. Молниеотвод для кирпичных зданий и сооружений. Тросовый молниеприемник на кровле склада. Система молниезащиты и заземления. Инструкция по устройству молниезащиты зданий и сооружений.
Инструкция по устройству молниезащиты зданий и сооружений. Молниеотвод для кирпичных зданий и сооружений. Тросовый молниеприемник на кровле склада. Система молниезащиты и заземления. Инструкция по устройству молниезащиты зданий и сооружений.
21. Молниезащита сеткой из арматуры. Со 153 молниезащита зданий и сооружений. 122-2003. Со 153 молниезащита зданий и сооружений.
21. Молниезащита сеткой из арматуры. Со 153 молниезащита зданий и сооружений. 122-2003. Со 153 молниезащита зданий и сооружений.